快速式燃氣熱水器根據不同分類,其構造也不相同。但氣閥、噴嘴、燃燒器、熱交換器、點火器、控制電路等都是不可缺少的部件,有的還得加上水流開關或水量傳感器以及一些安全裝置。如果是強制排氣式熱水器,還要加上風機及風扇等。下面分別就氣閥、噴嘴、燃燒器、熱交換器、點火器、水流開關及水量傳感器、控制電路、安全裝置等作些說明。

一、燃氣熱水器的基本構造
1、氣閥組件
氣閥是控制燃氣是否進入并調節燃氣量多少的重要部件。根據燃氣熱水器國家標準的規定:“在通往燃燒器的任一燃氣通路上,應設置不少于兩道可關閉的閥門,兩道閥門的功能應是互相獨立的”。因此,一般都采用一只主氣閥(起開關作用)及至少一只控制閥(調節燃氣量)組成。控制閥可以是手動控制的多個電磁氣閥組件,也可以是自動控制的燃氣比例閥。

2、噴嘴組件
噴嘴是燃氣從氣閥通往燃燒器的關口。由于這里燃氣通路突然變小且與大氣相通,在供給壓力作用下燃氣將噴向燃燒器。根據燃氣種類及壓力等來決定噴嘴個數。當然。與灶具不同的是燃氣熱水器的噴嘴是以組件形式出現的。
將加工好的若干個噴嘴擰到噴嘴座上,組成一個噴嘴組件般。一般10L左右的熱水器,噴嘴的數量從幾個到十幾個不等。但16L以上容量的熱水器,一般就不采用這種結構形式。而是采用將噴嘴及噴嘴座做成一體的結構,噴嘴也是一次加工成型的,噴嘴的數量在30個左右。

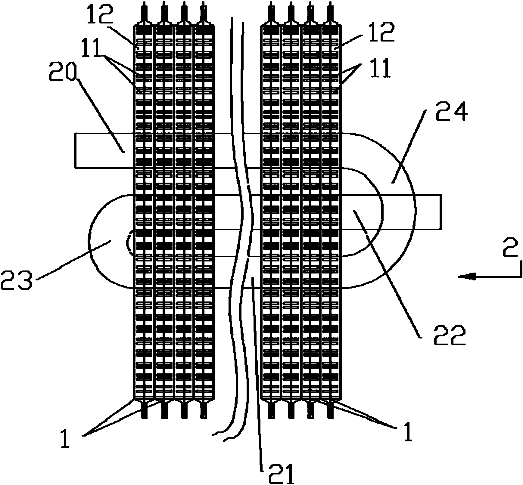
3、燃燒器組件
燃氣熱水器的燃燒器(通常習慣稱為火排)一般都采用薄形縫隙式的結構,雖然它的形狀與灶具燃燒器不大一樣,但其工作原理卻是一樣的。熱水器的燃燒器都以組件形式出現,它由幾個到幾十個燃燒器組成。
燃燒器個數的多少決定于產熱水能力和燃燒器本身的尺寸,最主要的是要保證在最大熱負荷狀態下(即我們平時所理解的燃氣控制閥全部打開且全部開至最大時的狀態),熱水器的出熱水量應達到所標定的產熱水能力。

4、熱交換器
熱交換器是將燃氣的熱量轉換為熱水的熱量的重要部件。
熱交換器由幾十片平行排列的翅片組成翅片一般都用傳熱性能好的紫銅材料制作,加熱水管從中來回穿越數次。工作時,翅片中的溫度可超過1000℃。在這高溫下,瞬間連續將自來水加熱成熱水。一般根據燃氣氣種不同,翅片的間距會有不同。液化石油氣及天然氣用的熱交換器的翅片間距較窄,人工燃氣用的熱交換器的翅片間距較寬,這是考慮到人工燃氣的煙氣容易在翅片處積炭。

二、唐家熱水器的CO、CH4雙氣體防控自排四步驟
1、監控
24聯機防控自排模塊,全天候24小時檢測室內CO、CH4濃度,并向“安全芯”智能中樞實時反饋。

2、快速指令
當CO、CH4濃度達到200ppm時,安全芯即時指令變速風機開啟,無需報警,避免隱患發生。

3、清掃
由安全芯發出的風機指令,變速風機快速抽排室內有害氣體。

4、待機
當變速風機運作一段時間后,檢測系統比較室內有害氣體濃度低于安全值,且自排達到安全值時,風機自動停止,熱水器再次進入待機狀態,恢復室內安全環境。

唐家熱水器速熱效果好,蓄水空間大,滿足家庭沐浴出水的需求,細心呵護您和家人的健康!